Hydra-Matic Manual

1948-1953 Pontiac Hydra-Matic Transmission Shop Manual
Includes 1954

Note: This gallery displays all pages from the 1948-1953 Pontiac Hydra-Matic Transmission Shop Manual (This manual predates the 1954 Model, but the information will carry over). You can use the section dropdown menu to jump to the beginning of a specific section. You can also go directly to any page by using the page selector or navigation buttons to explore the manual. You can also Zoom by clicking an image, Download (Save) or Print pages.
← Previous   |   Next →

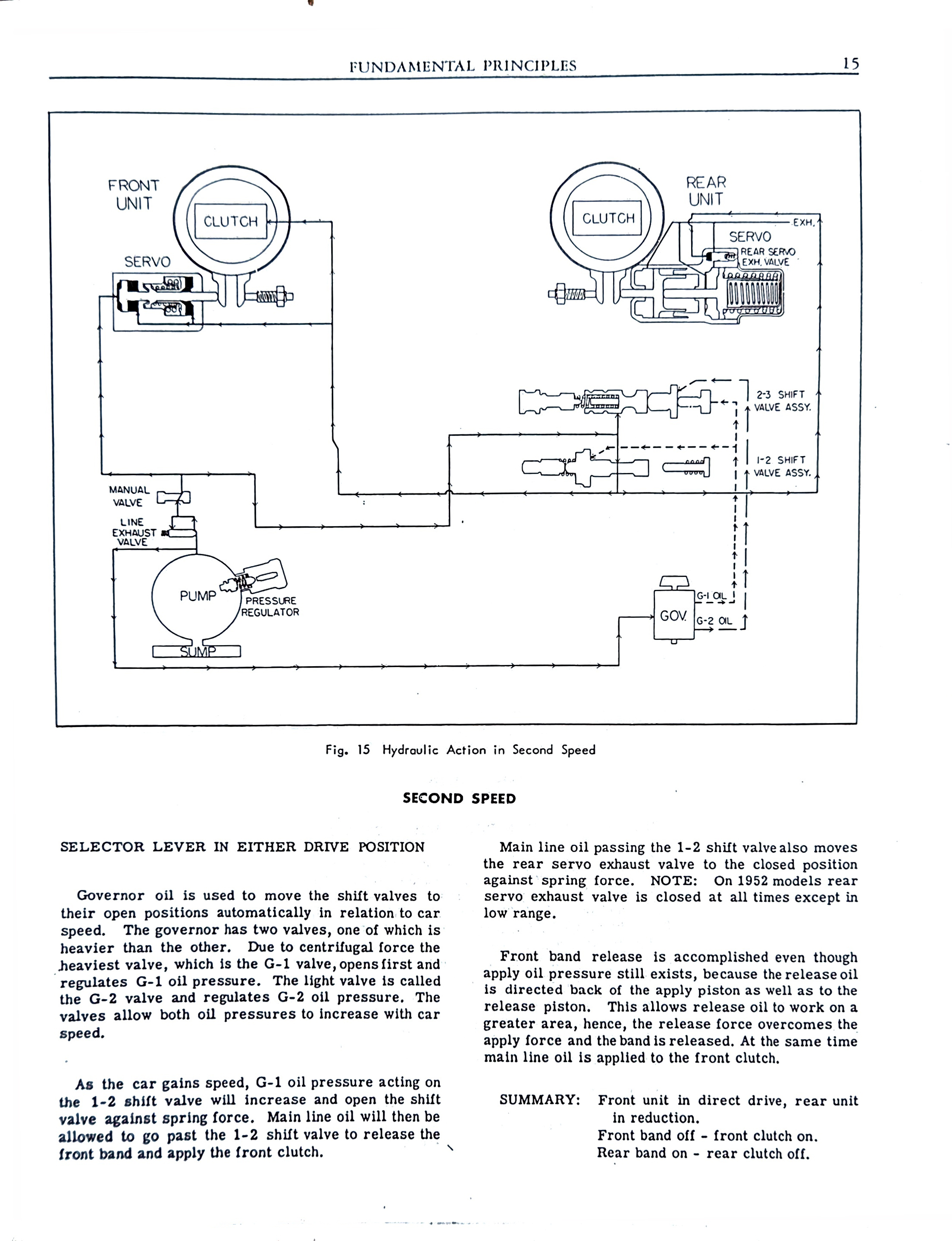
Page 15